
Alternator slip ring to fit Valeo and Denso Type Alternators
135173
SLR39117
This alternator slip ring is suitable for Valeo and Nippon Denso type alternators, providing reliable electrical contact for smooth alternator operation.
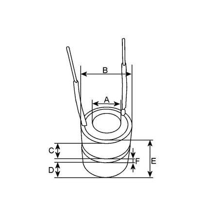
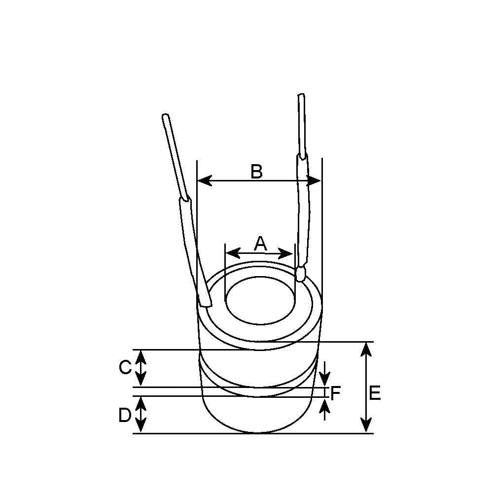
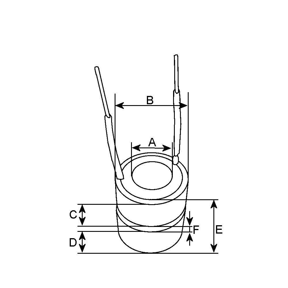
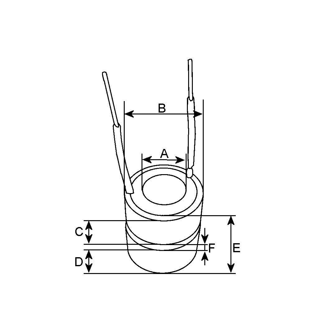
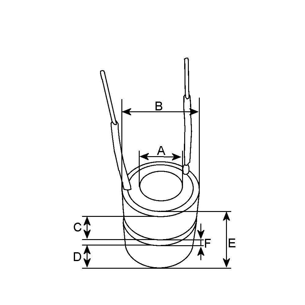
Physical Specifications:
- Outer Diameter (B): 14.90 mm
- Inner Diameter (A): 7.90 / 8.75 mm
- Total Length (E): 24.00 mm
- Material: Copper
- Type: Standard
- Collar: Without
Replacement / Cross Reference:
- 072100011 – PSH
- 120470 – Gebe (IKA)
- 135173 – HC-Cargo
- 2882853 – WAI
- F032135173 – HC-Cargo
- RNLSL29C5 – RNL
- SLR39117 – Wood Auto
- SLR39148 – Wood Auto
- WOOSLR39117 – Wood Auto
- WOOSLR39148 – Wood Auto
Another Quality Product by Wood Auto
- * All products come with 12 months warranty unless otherwise stated.
- * Please contact us with any issues so we can provide a solution for you.
