All goods despatched from the UK with fast fully tracked hassle free delivery
Pay only 1 delivery charge per order no matter how many products you order


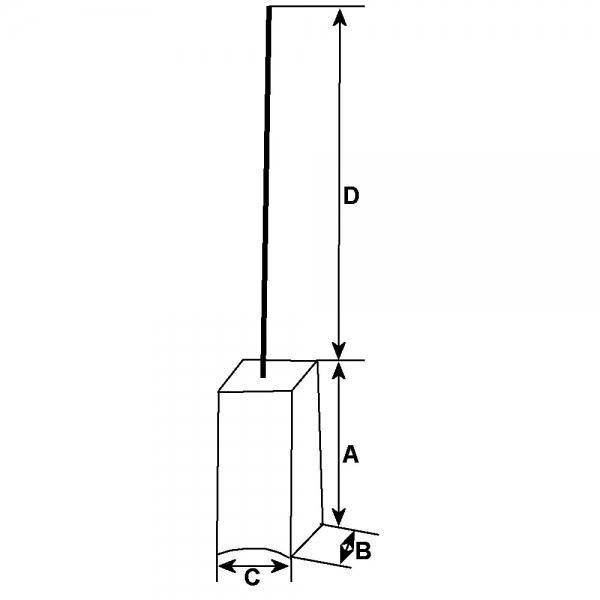
Voltage 14, Height 13.20, Thickness mm 5.00, Width mm 8.00, Lead length mm 31.00
RX103e2
Electrical specifications
- Voltage 14
Physical specifications
- A Height 13.20
- B Thickness mm 5.00
- C Width mm 8.00
- D Lead length mm 31.00
Replacing
- 7982543
- REMY (DELCO)
Search
Alternator Brush
Brush Set
Brushes
- * All products come with 12 months warranty unless otherwise stated.
- * Please contact us with any issues so we can provide a solution for you.