All goods despatched from the UK with fast fully tracked hassle free delivery
Pay only 1 delivery charge per order no matter how many products you order

Details and description
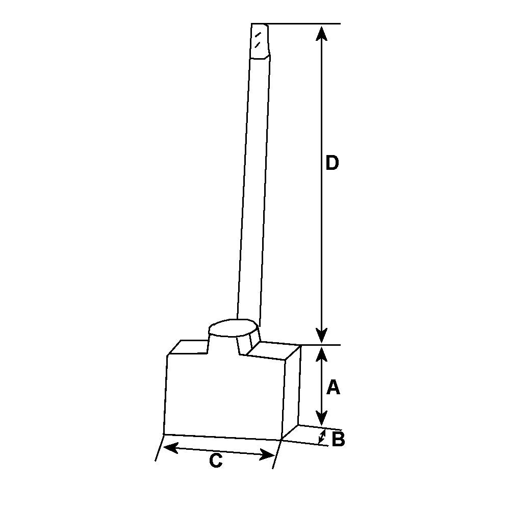
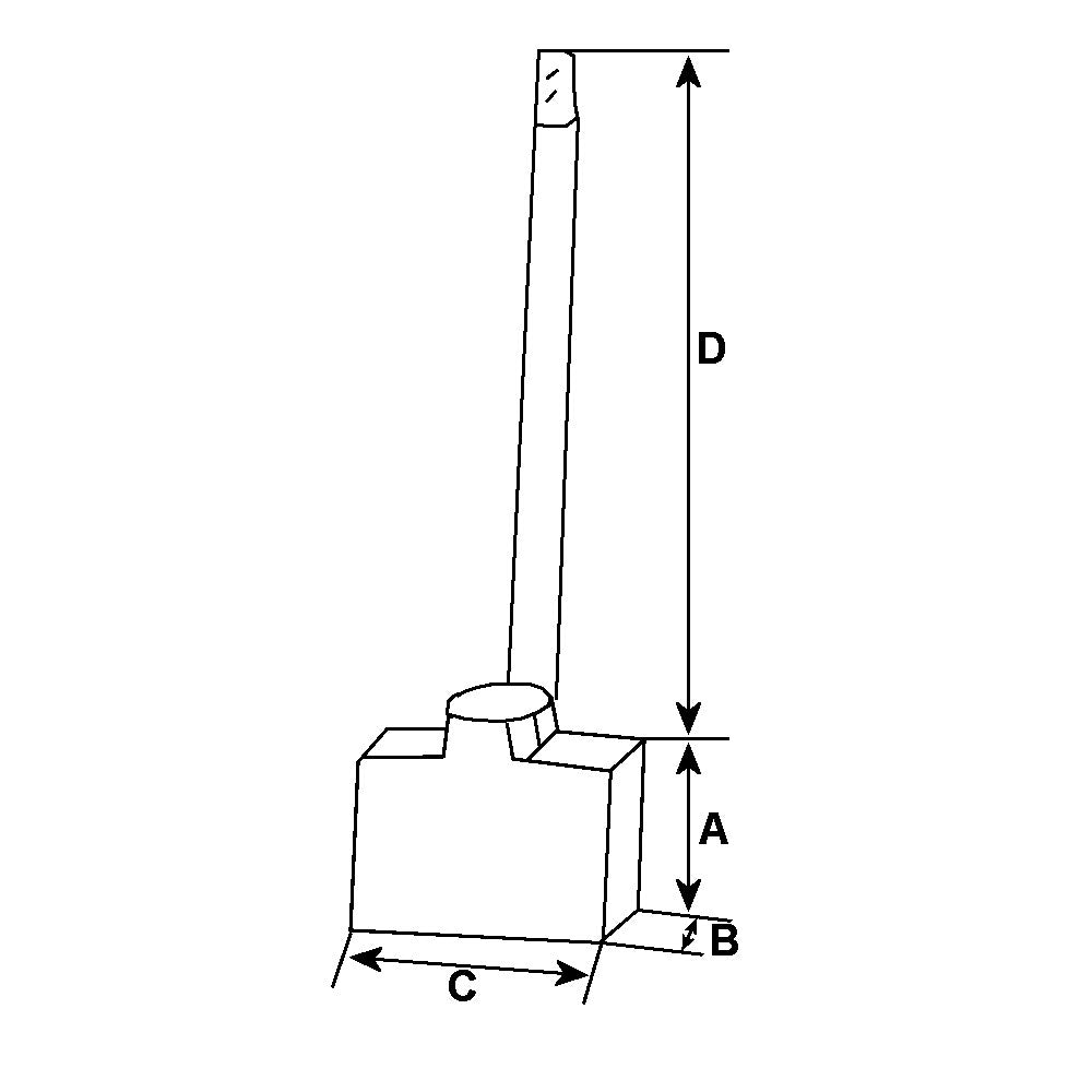
Voltage 12, Length mm 10.90/11.60, Thickness mm 5.00, Height mm 12.00, Lead length mm 24.50, No./brushes 4
Physical information
- A Length mm 10.90/11.60
- B Thickness mm 5.00
- C Height mm 12.00
- D Lead length mm 24.50
- No./brushes 4
Electrical information
- Voltage 12
Replacing
- 1004320155 Bosch
- 142337 HC-Cargo
- BSX161-1624 HC-Cargo
- * All products come with 12 months warranty unless otherwise stated.
- * Please contact us with any issues so we can provide a solution for you.
