All goods despatched from the UK with fast fully tracked hassle free delivery
Pay only 1 delivery charge per order no matter how many products you order

Starter Motor Drive Pinion Bendix Clutch Teeth HC-CARGO Replacing Bosch 10 Tooth 10 Spline SDV38107 231756
231756
Details and description
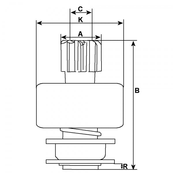
OD mm 39.55, Total length mm 83.80, No. of teeth 10, Splines A 10, OD/housing mm 62.20, Rotation CR, ID mm 14.35
Physical specifications
- A OD mm 39.55
- B Total length mm 83.80
- No. of teeth 10
- Splines A 10
- K OD/housing mm 62.20
- Rotation CR
- C ID mm 14.35
Replacing
- 1.01.1159.0 Zen
- 1159 Zen
- 2203 ghi
- 233728 HC-Cargo
- 333185 HC-Cargo
- 6033AD0184 Bosch
- 6033AD0200 Bosch
- 6033AD3110 Bosch
- 6033AD3334 Bosch
- 9002336237 Bosch
- RE508813 John Deere
- * All products come with 12 months warranty unless otherwise stated.
- * Please contact us with any issues so we can provide a solution for you.
