All goods despatched from the UK with fast fully tracked hassle free delivery
Pay only 1 delivery charge per order no matter how many products you order

Starter Motor Drive Pinion Bendix Clutch Teeth HC-CARGO Replacing Bosch 10 Tooth 8 Spline SDV3912 139541
139541
Details and description
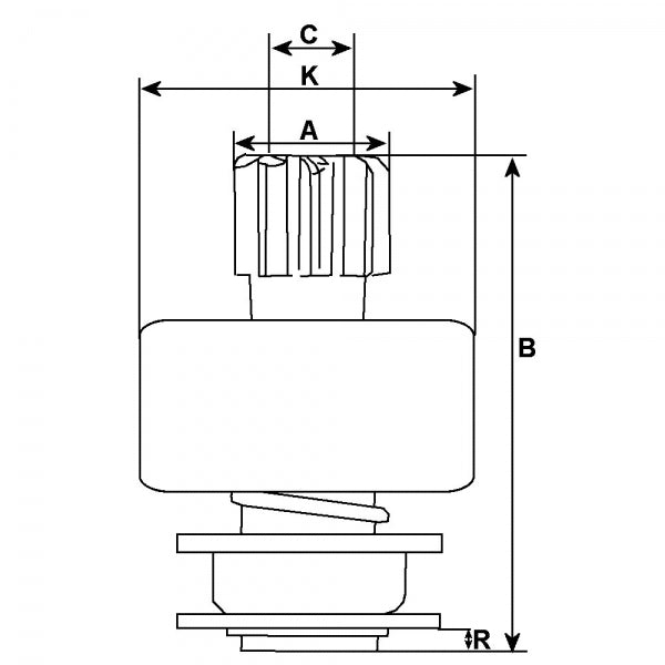
OD mm 32.90, Total length mm 50.80, ID mm 13.05, No./teeth 10, Splines internal 8, OD/housing mm 46.00, Rotation CW
Physical information
- A OD mm 32.90
- B Total length mm 50.80
- C ID mm 13.05
- No./teeth 10
- Splines internal 8
- K OD/housing mm 46.00
- Rotation CW
Replacing
- 1.01.1024.0 Zen
- 139903 HC-Cargo
- M191T15071 Mitsubishi
- M191T68071 Mitsubishi
- M191X68071 Mitsubishi
- MD618963 Mitsubishi
- * All products come with 12 months warranty unless otherwise stated.
- * Please contact us with any issues so we can provide a solution for you.
