All goods despatched from the UK with fast fully tracked hassle free delivery
Pay only 1 delivery charge per order no matter how many products you order


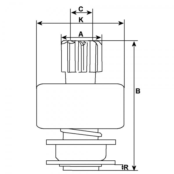
Starter Motor Drive Pinion Bendix Clutch Teeth HC-CARGO Replacing Bosch 11 Tooth 10 Spline SDV3020 233723
233723
Details and description
OD mm 39.80, Total length mm 83.40, No. of teeth 11, Splines A 10, OD/housing mm 60.00, Rotation CR, ID mm 14.30
Physical specifications
- A OD mm 39.80
- B Total length mm 83.40
- No. of teeth 11
- Splines A 10
- K OD/housing mm 60.00
- Rotation CR
- C ID mm 14.30
Replacing
- 333599 HC-Cargo
- 6033AD0267 Bosch
- 6033AD3106 Bosch
- RE503358 John Deere
- * All products come with 12 months warranty unless otherwise stated.
- * Please contact us with any issues so we can provide a solution for you.