All goods despatched from the UK with fast fully tracked hassle free delivery
Pay only 1 delivery charge per order no matter how many products you order

Starter Motor Drive Pinion Bendix Clutch Teeth HC-CARGO Replacing Bosch 9 Tooth 10 Spline SDV38169 131996
131996
Details and description
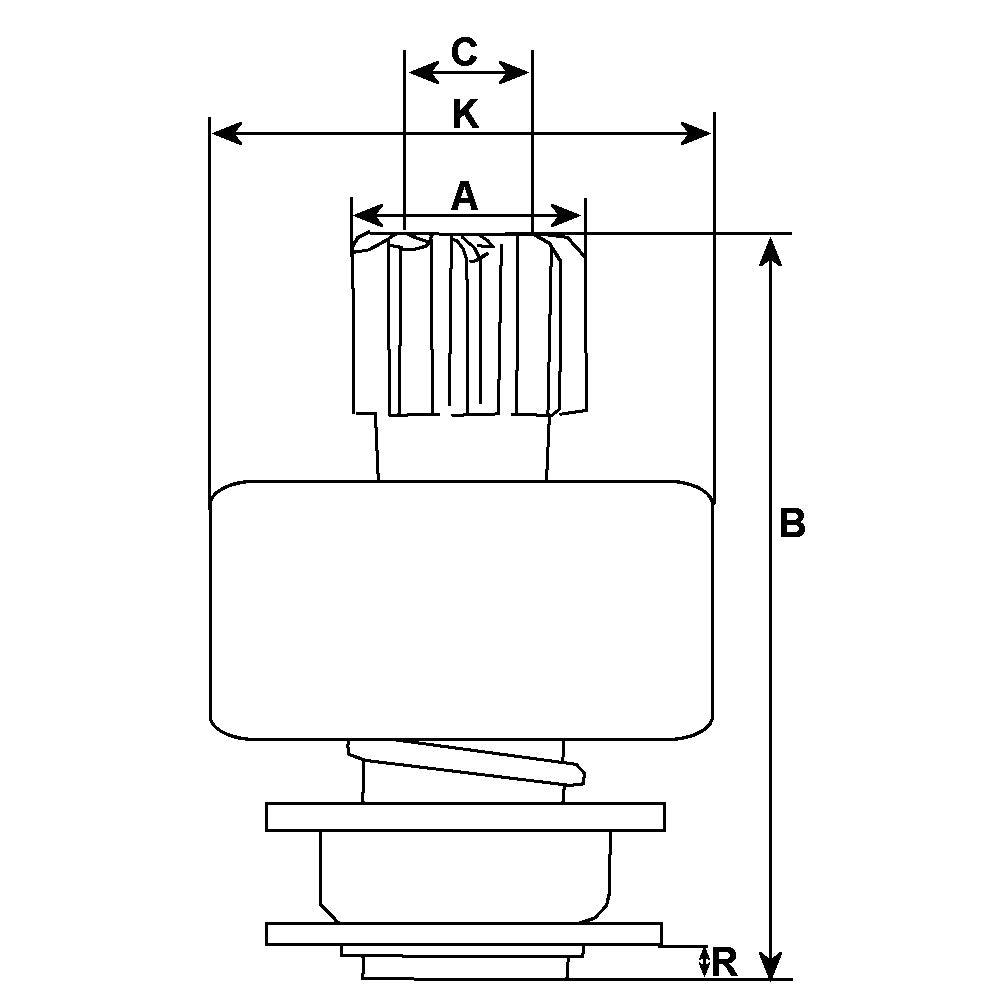
OD mm 35.00, Total length mm 62.50, No. of teeth 9, Splines A 10, OD/housing mm 54.00, Rotation CR, ID mm 12.00
Physical specifications
- A OD mm 35.00
- B Total length mm 62.50
- No. of teeth 9
- Splines A 10
- K OD/housing mm 54.00
- Rotation CR
- C ID mm 12.00
Replacing
- 0875 Zen
- 1.01.0875.0 Zen
- 135527 HC-Cargo
- 333514 HC-Cargo
- 9002336283 Bosch
- 9003336283 Bosch
- 9009996289 Bosch
- F000AL1881 Bosch
- * All products come with 12 months warranty unless otherwise stated.
- * Please contact us with any issues so we can provide a solution for you.
