All goods despatched from the UK with fast fully tracked hassle free delivery
Pay only 1 delivery charge per order no matter how many products you order

Starter Motor Drive Pinion Bendix Clutch Teeth HC-CARGO Replacing Bosch 9 Tooth 10 Spline SDV38178 139954
139954
Details and description
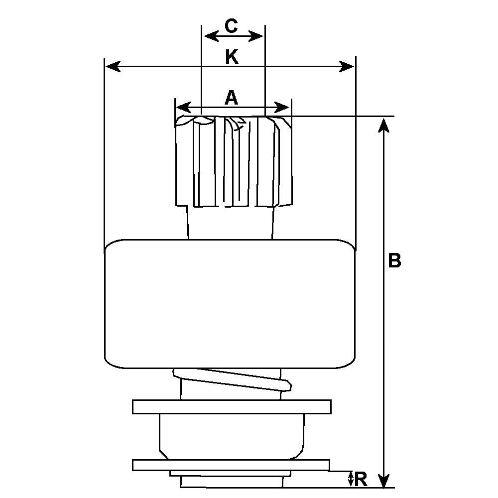
OD mm 29.30, Total length mm 49.00, ID mm 12.00, No./teeth 9, Splines internal 10, OD/housing mm 46.80, Rotation CW
Physical information
- A OD mm 29.30
- B Total length mm 49.00
- C ID mm 12.00
- No./teeth 9
- Splines internal 10
- K OD/housing mm 46.80
- Rotation CW
Replacing
- 0998 Zen
- 1.01.0998.0 Zen
- 1006209607 Bosch
- 1006209670 Bosch
- 1006209675 Bosch
- 1006210150 Bosch
- 1986SE1622 Bosch
- 1987MN0180 Bosch
- F000AL1200 Bosch
- F000AL1250 Bosch
- F000AL1695 Bosch
- * All products come with 12 months warranty unless otherwise stated.
- * Please contact us with any issues so we can provide a solution for you.
