All goods despatched from the UK with fast fully tracked hassle free delivery
Pay only 1 delivery charge per order no matter how many products you order

Starter Motor Drive Pinion Bendix Clutch Teeth HC-CARGO Replacing Bosch 9 Tooth 10 Spline SDV3896 Cargo 130414
130414
Details and description
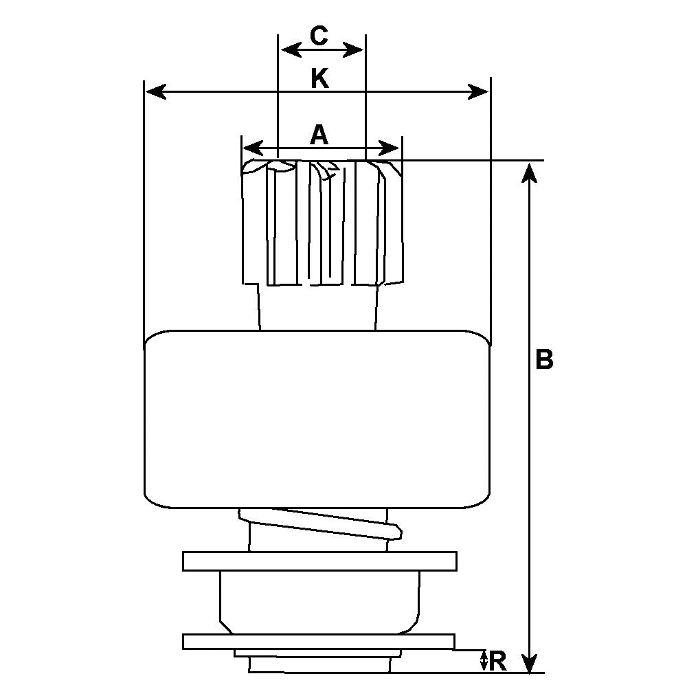
OD mm 25.80, Total length mm 71.50, Drive type Steel, No. of teeth 9, Splines A 10, OD/housing mm 54.50, Rotation CR, ID mm 12.00, O.d. teeth mm 25.80
Physical specifications
- A OD mm 25.80
- B Total length mm 71.50
- Drive type Steel
- No. of teeth 9
- Splines A 10
- K OD/housing mm 54.50
- Rotation CR
- C ID mm 12.00
- O.d. teeth mm 25.80
Replacing
- 0228 ZEN
- 1.01.0228.0 ZEN
- 16.900.920 ISKRA
- 2006209471 BOSCH
- 2006209500 BOSCH
- 2997 GHIBAUDI
- * All products come with 12 months warranty unless otherwise stated.
- * Please contact us with any issues so we can provide a solution for you.
