All goods despatched from the UK with fast fully tracked hassle free delivery
Pay only 1 delivery charge per order no matter how many products you order

Starter Motor Drive Pinion Bendix Clutch Teeth HC-CARGO Replacing Bosch 9 Tooth 16 Spline SDV38161 137890
137890
Details and description
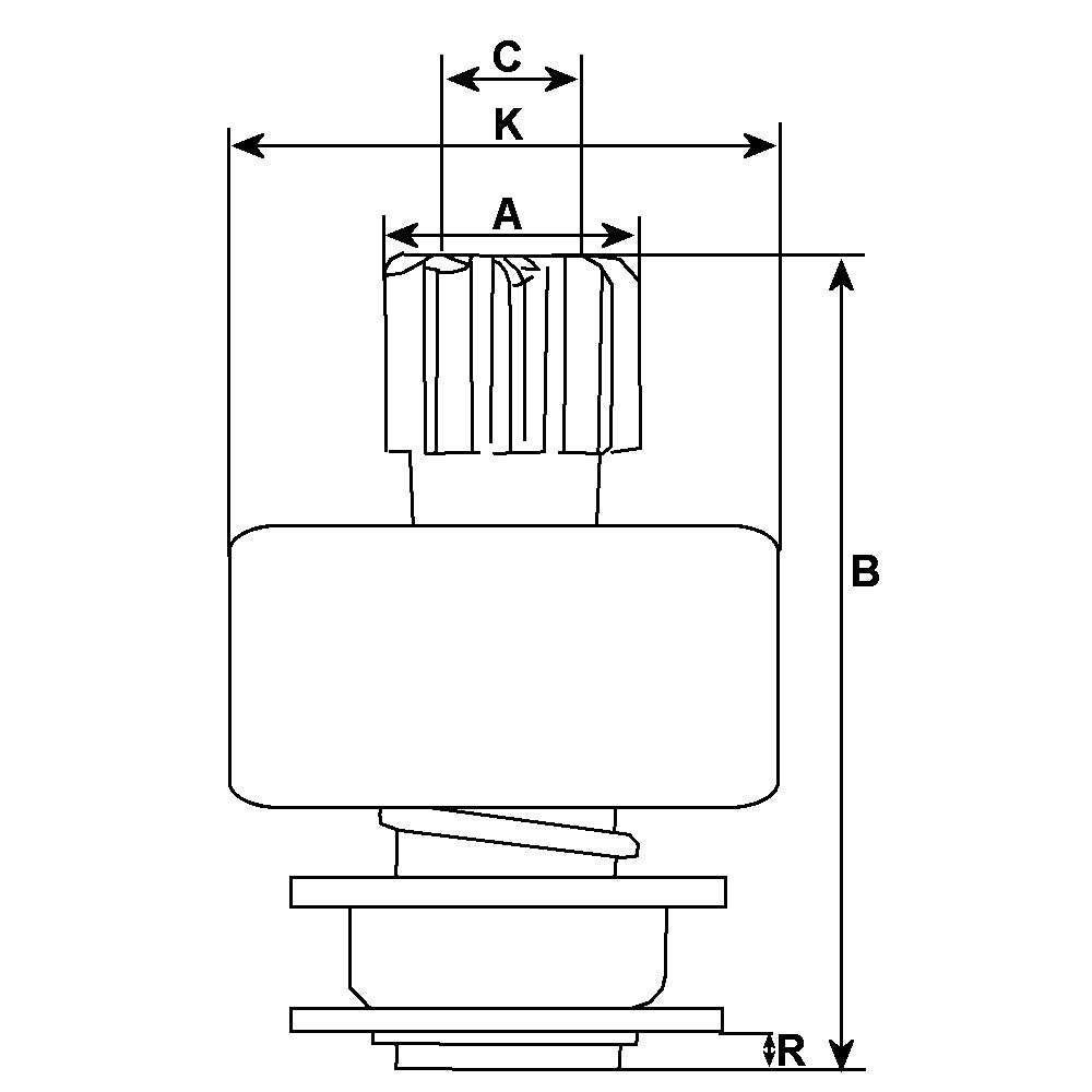
OD mm 25.40, Total length mm 93.50, ID mm 11.20, No./teeth 9, Splines internal 16, OD/housing mm 53.60, Rotation CCW
Physical information
- A OD mm 25.40
- B Total length mm 93.50
- C ID mm 11.20
- No./teeth 9
- Splines internal 16
- K OD/housing mm 53.60
- Rotation CCW
Replacing
- 0972 Zen
- 1.01.0972.0 Zen
- 1006209636 Bosch
- 1006209643 Bosch
- 1006209759 Bosch
- 1006209946 Bosch
- 2028 ghi
- * All products come with 12 months warranty unless otherwise stated.
- * Please contact us with any issues so we can provide a solution for you.
