All goods despatched from the UK with fast fully tracked hassle free delivery
Pay only 1 delivery charge per order no matter how many products you order

Starter Motor Drive Pinion Bendix Clutch Teeth HC-CARGO Replacing VALEO 10 Tooth 12 Spline SDV30624 138209
138209
Details and description
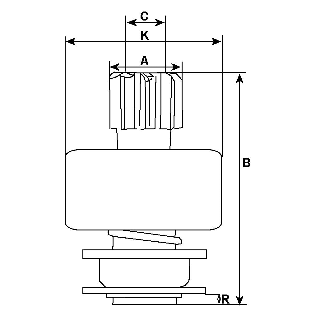
OD mm 26.80, Total length mm 47.00, ID mm 12.00, No./teeth 10, Splines internal 12, OD/housing mm 46.00, Rotation CW
Physical information
- A OD mm 26.80
- B Total length mm 47.00
- C ID mm 12.00
- No./teeth 10
- Splines internal 12
- K OD/housing mm 46.00
- Rotation CW
Replacing
- 1.01.0824.1 Zen
- 1208 Zen
- 2115 ghi
- 53R211350A Ford
- F3RZ11350A Ford
- F5RU11350RA Ford
- SD353 Ford
- XS6411350AA Ford
- * All products come with 12 months warranty unless otherwise stated.
- * Please contact us with any issues so we can provide a solution for you.
