All goods despatched from the UK with fast fully tracked hassle free delivery
Pay only 1 delivery charge per order no matter how many products you order

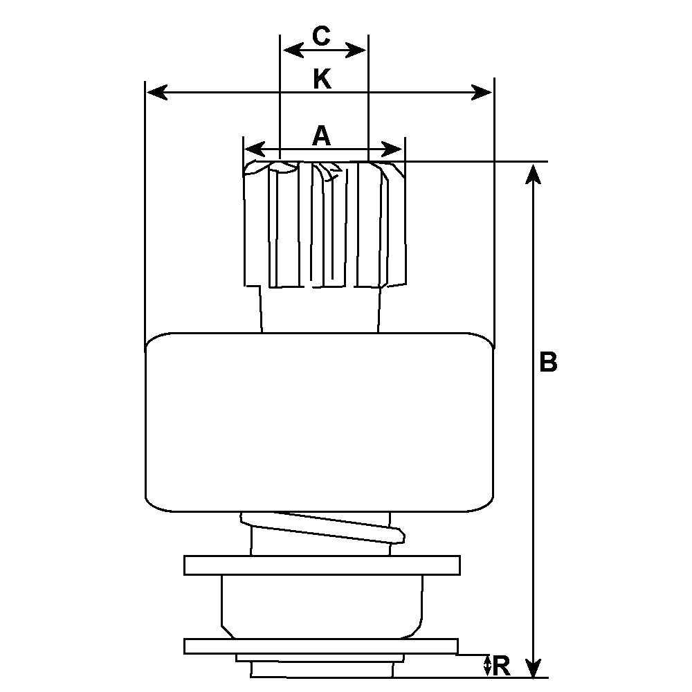
Starter Motor Drive Pinion Bendix Clutch Teeth HC-CARGO Replacing VALEO 11 Tooth 9 Spline
SDV37618, 135389
Details and description
- Splines A 9, No./teeth 11, OD mm 29.00, Total length mm 54.50, OD/housing mm 54.00, Rotation CR, ID mm 12.00
Physical information
- A OD mm 29.00
- B Total length mm 54.50
- C ID mm 12.00
- No./teeth 11
- Splines internal 9
- K OD/housing mm 54.00
- Rotation CW
- R Shaft dist. 11.00 12.00
Replacing
- 1.01.1023.0 Zen
- 1023 Zen
- 185915 Valeo
- 549185 Valeo
- 584185 Ducellier
- 594185 Valeo
- * All products come with 12 months warranty unless otherwise stated.
- * Please contact us with any issues so we can provide a solution for you.
