All goods despatched from the UK with fast fully tracked hassle free delivery
Pay only 1 delivery charge per order no matter how many products you order

Starter Motor Drive Pinion Bendix Teeth HC-CARGO Replacing MAGNETI MARELLI 9 Tooth 12 Spline SDV3720 Cargo 131109
131109
Details and description
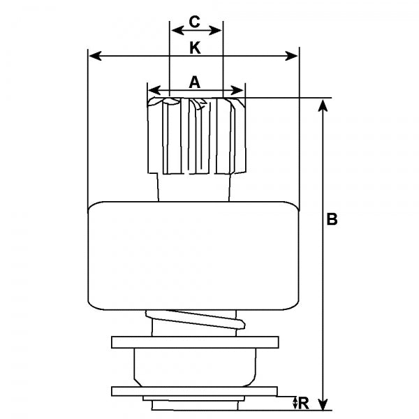
OD mm 34.55, Total length mm 77.20, No. of teeth 9, Splines A 12, OD/housing mm 59.70, Rotation CR, Remarks Drive w/ lever: HC-CARGO 234921, 234922., ID mm 14.30
Physical specifications
- A OD mm 34.55
- B Total length mm 77.20
- No. of teeth 9
- Splines A 12
- K OD/housing mm 59.70
- Rotation CR
- C ID mm 14.30
Further information
- Drive w/ lever: HC-CARGO 234921, 234922.
Replacing
- 072139001010 lucas
- 1.01.0407.0 Zen
- 130750 HC-Cargo
- 72139001 Magneti Marelli
- 72363402 Magneti Marelli
- 9929081 Fiat
- 9935731 Fiat
- 9936772 Fiat
- 9957707 Fiat
- 9986112 Fiat
- * All products come with 12 months warranty unless otherwise stated.
- * Please contact us with any issues so we can provide a solution for you.
